本适用新型涉及船舶调理阀手艺领域,,,详细为一种手动式气动调理阀。。。。。。

配景手艺:
气动调理阀就是以压缩空气为动力源,,,以气缸为执行器,,,并借助于电气阀门定位器、转换器、电磁阀、爆违法等附件去驱动阀门,,,实现开关量或比例式调理,,,吸收工业自动化控制系统的控制信号来完成调理管道介质的流量、压力、温度等种种工艺参数,,,气动调理阀的特点就是控制简朴,,,反应快速,,,且实质清静,,,不需另外再接纳防爆步伐,,,气动调理阀通常由气动执行机构和调理阀毗连装置调试组成,,,气动执行机构可分为单作用式和双作用式两种,,,单作用执行器内有复位弹簧,,,而双作用执行器内没有复位弹簧。。。。。。其中单作用执行器,,,可在失去起源或突然故障时,,,自动归位到阀门初始所设置的开启或关闭状态。。。。。。
现在市场上通用的气动调理阀,,,一样平常接纳螺纹举行阀体牢靠。。。。。。这种结构导致气动调理阀拆装不易。。。。。。不但提高了手工操作的劳动强度,,,且多次拆装后容易泛起数据禁绝确,,,误差较大的问题。。。。。。由于加工误差、装配等方面的影响,,,当移动阀杆时,,,阀瓣密封面和阀座密封面之间的爆发一定距离,,,当需要关闭该阀时,,,无法抵达全密封状态,,,走漏量大,,,具有加工难题、本钱高的手艺缺陷。。。。。。
手艺实现要素:
本适用新型的目的在于提供一种手动式气动调理阀,,,通过在阀体外侧设置调理螺杆,,,通过手动调理锁紧螺母锁紧气动调理阀,,,以解决上述配景手艺中提出的问题。。。。。。
为实现上述目的,,,本适用新型提供如下手艺计划:一种手动式气动调理阀,,,包括阀体、阀盖、阀瓣组件、毗连器、上部阀杆、下部阀杆、弹簧、弹簧座、调理螺杆、锁紧螺母以及气动执行器,,,所述气动执行器设于所述阀体的上方,,,所述毗连器一端通过上部阀杆与气动执行器毗连,,,所述毗连器另一端通过下部阀杆与阀体牢靠毗连,,,所述调理螺杆设于所述毗连器两侧,,,所述锁紧螺母旋接与所述调理螺杆上,,,所述阀盖设于所述气动执行器与阀体之间,,,所述下部阀杆下端设于所述阀瓣组件内,,,所述下部阀杆两侧设有弹簧座,,,所述弹簧设于所述弹簧座上,,,所述阀体下方设有入口,,,所述阀体右侧设有出口。。。。。。
优选的,,,阀瓣组件包括阀瓣、阀瓣座、阀瓣弹簧以及o型密封圈,,,所述阀瓣座设于阀瓣的下方,,,所述o型密封圈设于所述阀瓣与阀瓣座之间,,,所述阀瓣弹簧设于所述阀瓣座与阀体之间。。。。。。
优选的,,,阀瓣呈t型结构,,,所述阀瓣中部设有凹槽,,,所述凹槽与所述下部阀杆的底端相适配。。。。。。
优选的,,,弹簧座与所述下部阀杆呈笔直结构,,,所述弹簧与所述下部阀杆呈平行结构。。。。。。
优选的,,,弹簧座包括上弹簧座以及下弹簧座,,,所述上弹簧座与所述下弹簧座呈径向对称漫衍。。。。。。
优选的,,,气动执行器一侧还设有电缆密封套。。。。。。
与现有手艺相比,,,本适用新型的有益效果是:
(1)本适用新型通过气动调理阀中的阀体、上部阀杆、下部阀杆、阀瓣、气动执行器等组件之间的相互配合,,,使用气动调理阀内的调理杆,,,可以手动调理气动调理阀的锁紧结构,,,使得调理阀性能稳固,,,结构简朴,,,便于生产制造和操作。。。。。。
(2)本适用新型通过在阀瓣组件中设置阀瓣座以及阀瓣弹簧,,,通过阀瓣座以及阀瓣弹簧,,,使气动调理阀具有防振动性好的优点。。。。。。
(3)本适用新型通过在阀瓣组件中设置o型密封圈,,,通过o型密封圈可以增添阀瓣与下部阀杆的密封性。。。。。。
(4)本适用新型通过在气动调理阀中设置毗连器,,,通过毗连器毗连气动执行器以及阀体,,,使得气动执行器能发动阀体运行。。。。。。
(5)本适用新型在上部阀杆两侧设置调理螺杆,,,通过调理螺杆与锁紧螺母之间的配和,,,在启闭阀门时,,,确保阀盖、阀体与阀瓣之间的密封性坚持优异。。。。。。
(6)本适用新型通过在气动执行器一侧设置电缆密封套,,,可以将电缆线藏于电缆密封套中,,,避免被外界情形影响使用。。。。。。
附图说明
图1为气动调理阀整体结构图;;;;;;
图2为阀瓣组件结构图。。。。。。
详细实验方法
下面将连系本适用新型实验例中的附图,,,对本适用新型实验例中的手艺计划举行清晰、完整地形貌,,,显然,,,所形貌的实验例仅仅是本适用新型一部分实验例,,,而不是所有的实验例。。。。。;;;;;;诒臼视眯滦椭械氖笛槔,,,本事域通俗手艺职员在没有做出创立性劳动条件下所获得的所有其他实验例,,,都属于本适用新型;;;;;;さ墓婺!。。。。。
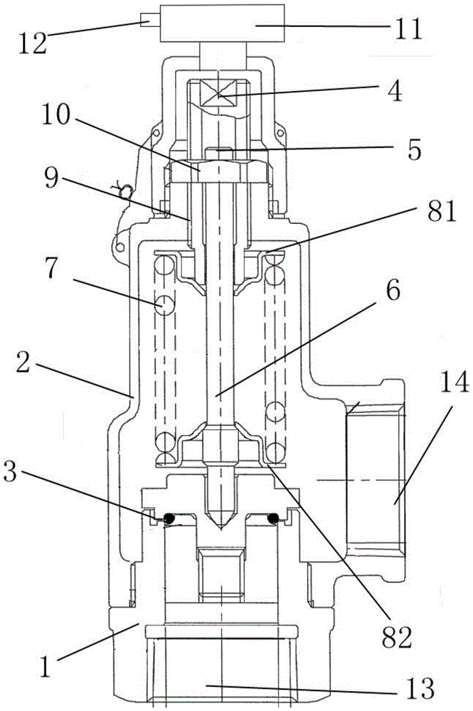
请参阅图1和图2,,,本适用新型提供一种手艺计划:一种手动式气动调理阀,,,包括阀体1、阀盖2、阀瓣组件3、毗连器4、上部阀杆5、下部阀杆6、弹簧7、弹簧座8、调理螺杆9、锁紧螺母10以及气动执行器11,,,气动执行器11设于1的上方,,,气动执行器11一侧还设有电缆密封套12,,,通过在气动执行器11一侧设置电缆密封套12,,,可以将电缆线藏于电缆密封套12中,,,避免被外界情形影响使用,,,毗连器4一端通过上部阀杆5与气动执行器11毗连,,,毗连器4另一端通过下部阀杆6与阀体1牢靠毗连,,,通过在气动调理阀中设置毗连器4,,,通过毗连器4毗连气动执行器11以及阀体1,,,使得气动执行器11能发动阀体1运行,,,调理螺杆9设于毗连器4两侧,,,锁紧螺母10旋接与调理螺杆9上,,,在上部阀杆5两侧设置调理螺杆9,,,通过调理螺杆9与锁紧螺母10之间的配和,,,在启闭阀门时,,,确保阀盖2、阀体1与阀瓣31之间的密封性坚持优异,,,阀盖2设于气动执行器11与阀体1之间,,,下部阀杆6下端设于阀瓣组件3内,,,下部阀杆6两侧设有弹簧座8,,,弹簧设于弹簧座8上,,,弹簧座8与下部阀杆6呈笔直结构,,,弹簧与下部阀杆6呈平行结构,,,弹簧座8包括上弹簧座81以及下弹簧座82,,,上弹簧座81与下弹簧座82呈径向对称漫衍,,,阀体1下方设有入口13,,,阀体1右侧设有出口14,,,阀瓣组件3包括阀瓣31、阀瓣座32、阀瓣弹簧33以及o型密封圈34,,,阀瓣座42设于阀瓣41的下方,,,o型密封圈34设于阀瓣31与阀瓣座32之间,,,阀瓣弹簧33设于阀瓣座32与阀体1之间,,,阀瓣31呈t型结构,,,阀瓣31中部设有凹槽35,,,凹槽35与下部阀杆6的底端相适配,,,通过在阀瓣组件3中设置阀瓣座32以及阀瓣弹簧33,,,通过阀瓣座32以及阀瓣弹簧33,,,使气动调理阀具有防振动性好的优点,,,通过在阀瓣组件3中设置o型密封圈34,,,通过o型密封圈34可以增添阀瓣31与下部阀杆6的密封性。。。。。。
使用要领
在使用气动调理阀之前,,,首先举行密封试验,,,在阀门处于关闭状态时,,,从入口通道通入试验介质,,,视察出口通道有无走漏。。。。。。由于加工误差、装配等方面的影响,,,阀体1、上部阀杆5、下部阀杆6以及阀瓣组件3之间会爆发些微的距离,,,因此无法抵达全密封状态,,,事情职员手动调理锁紧螺母10,,,在调理螺杆9上举行锁紧阀体1、上部阀杆5、下部阀杆6以及阀瓣组件3之间锁紧装置,,,锁紧螺10母发动调理螺杆9顺时针旋转,,,在调理外螺纹和调理内螺纹的配合下,,,实现对气动调理阀的锁紧调理。。。。。。
只管已经示出和形貌了本适用新型的实验例,,,关于本事域的通俗手艺职员而言,,,可以明确在不脱离本适用新型的原理和精神的情形下可以对这些实验例举行多种转变、修改、替换和变型,,,本适用新型的规模由所附权力要求及其等同物限制。。。。。。
手艺特征:
1.一种手动式气动调理阀,,,其特征在于:包括阀体、阀盖、阀瓣组件、毗连器、上部阀杆、下部阀杆、弹簧、弹簧座、调理螺杆、锁紧螺母以及气动执行器,,,所述气动执行器设于所述阀体的上方,,,所述毗连器一端通过上部阀杆与气动执行器毗连,,,所述毗连器另一端通过下部阀杆与阀体牢靠毗连,,,所述调理螺杆设于所述毗连器两侧,,,所述锁紧螺母旋接与所述调理螺杆上,,,所述阀盖设于所述气动执行器与阀体之间,,,所述下部阀杆下端设于所述阀瓣组件内,,,所述下部阀杆两侧设有弹簧座,,,所述弹簧设于所述弹簧座上,,,所述阀体下方设有入口,,,所述阀体右侧设有出口。。。。。。
2.凭证权力要求1所述的一种手动式气动调理阀,,,其特征在于:所述阀瓣组件包括阀瓣、阀瓣座、阀瓣弹簧以及o型密封圈,,,所述阀瓣座设于阀瓣的下方,,,所述o型密封圈设于所述阀瓣与阀瓣座之间,,,所述阀瓣弹簧设于所述阀瓣座与阀体之间。。。。。。
3.凭证权力要求2所述的一种手动式气动调理阀,,,其特征在于:所述阀瓣呈t型结构,,,所述阀瓣中部设有凹槽,,,所述凹槽与所述下部阀杆的底端相适配。。。。。。
4.凭证权力要求1所述的一种手动式气动调理阀,,,其特征在于:所述弹簧座与所述下部阀杆呈笔直结构,,,所述弹簧与所述下部阀杆呈平行结构。。。。。。
5.凭证权力要求4所述的一种手动式气动调理阀,,,其特征在于:所述弹簧座包括上弹簧座以及下弹簧座,,,所述上弹簧座与所述下弹簧座呈径向对称漫衍。。。。。。
6.凭证权力要求1所述的一种手动式气动调理阀,,,其特征在于:所述气动执行器一侧还设有电缆密封套。。。。。。
手艺总结
本适用新型果真了一种手动式气动调理阀,,,包括阀体、阀盖、阀瓣组件、毗连器、上部阀杆、下部阀杆、弹簧、弹簧座、调理螺杆、锁紧螺母以及气动执行器,,,气动执行器设于阀体的上方,,,毗连器一端通过上部阀杆与气动执行器毗连,,,毗连器另一端通过下部阀杆与阀体牢靠毗连,,,调理螺杆设于毗连器两侧,,,锁紧螺母旋接与调理螺杆上,,,阀盖设于气动执行器与阀体之间,,,下部阀杆下端设于阀瓣组件内,,,下部阀杆两侧设有弹簧座,,,弹簧设于弹簧座上,,,阀体下方设有入口,,,阀体右侧设有出口。。。。。。本适用新型通过气动调理阀中各组件之间的相互配合,,,使用气动调理阀内的调理杆,,,可以手动调理气动调理阀的锁紧结构,,,使得调理阀性能稳固,,,结构简朴,,,便于生产制造和操作。。。。。。